Mallit ja mitat
Linnunpönttöjä on kahta päätyyppiä: pyöreästä puupölkystä tehtyjä luonnonpönttöjä ja rakennettuja lautapönttöjä. Laudasta voi rakentaa useita eri pönttömalleja.
Alla on esitelty yleisimmät pönttömallit sekä niissä pesivät lintulajit. Kunkin lajin pöntölle sopivat mitat kerrotaan taulukoissa.
Katso myös:
Mitat ovat tärkeitä
Mitä pienemmästä pönttömallista on kysymys, sitä tarkempaa on mitoissa pysyminen. Pöntön tärkeimmät mitat ovat lentoaukon koko ja pöntön sisäosan läpimitta, eli lautapöntössä lyhyemmän sisäsivun pituus.
Linnut eivät tosin kulje mittanauhan kanssa, mutta turhan isosta aukosta pääsevät sisään pedot ja koloista kilpailevat isommat lajit. Pikkulinnutkin kilpailevat koloista keskenään. Pienten tiaisten pesimismahdollisuuksien varmistamiseksi niiden lentoaukko ei saa ylittää 2,8 senttimetriä. Kuusitiaista varten se voi olla jopa vain 2,6 senttimetriä.
Pesäkoloa ei pitäisi tehdä ohjeessa mainittua ahtaammaksi, etteivät ison poikueen vahvimmat poikaset survo heikompia alleen. Turhan iso tai korkea onkalo taas aiheuttaa ylimääräistä pesänrakennustyötä emoille.
Erityisvaatimuksia
Alla olevissa taulukoissa on mainittu muutamia erityisvaatimuksia:
- Monet pöntöissä pesivät lajit eivät tuo pönttöön pesäaineksia itse. Näille lajeille on pönttöihin ehdottomasti pantava sahanpurua, lahopuuta, kuivaa sammalta tai turvetta tai muuta sellaista pehmikettä niin paljon, ettei pesäsyvennystä kuoputtava emo raavi pohjaa näkyviin. Paljaalla pohjalla makaavat munat voivat jäätyä.
- Hentojalkaiselle tervapääskylle on erityisen tärkeää, että pöntön etuseinän sisäpuoli on karkea niin, että sitä pitkin voi kiivetä. Muuten poikaset ja emotkin voivat jäädä loukkuun pönttöön.
- Varpuspöllön mielestä kunnon pesäkoloon pitää vähän ryömiä, joten pönttöön on tehtävä tavallista paksumpi (vähintään 5 cm) etuseinä ainakin reiän kohdalle.
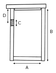
Peruspönttö
![]() |
![]() |
Tavallisin pönttömalli.
Mitat (senttimetrejä):
- A = pöntön leveys sisäpuolelta
- B = seinälauden korkeus
- C = lentoaukon halkaisija
- D = lentoaukon keskipisteen etäisyys seinän yläreunasta
| Laji | A | B | C | D | Muuta huomioitavaa |
| sinitiainen, kuusitiainen | 10 | 25 | 2,8 | 7 | |
| hömötiainen, töyhtötiainen | 10 | 25 | 2,8 | 7 | Pönttö kannattaa täyttää sahanpurulla, lahopuulla tms. |
| kirjosieppo, talitiainen, lapintiainen | 10–12 | 30 | 3,2 | 8 | |
| leppälintu | 12–15 | 28 | 7 | 8 | |
| kottarainen, käenpiika | 12–15 | 35 | 4,6 | 8 | |
| tervapääsky | 12–15 | 35 | 4,6 | 8 | Laudan on oltava erityisen karkeaa. Pohjalle laitetaan vähintään 5 cm sahanpurua, turvetta tms. |
| liito-orava | 15–18 | 60 | 4,5 | 20 | Etuseinän on oltava vähintään 5 cm paksu. Lentoaukko ei saa olla yli 4,5 cm, jotta näätä ei mahdu pönttöön. Pohjalle laitetaan vähintään 5 cm sahanpurua, turvetta tms. |
| varpuspöllö | 15–18 | 60 | 4,6 | 20 | Etuseinän on oltava vähintään 5 cm paksu. Pohjalle laitetaan vähintään 5 cm sahanpurua, turvetta tms. |
| helmipöllö | 18–20 | 50 | 8,5 | 10 | Pohjalle laitetaan vähintään 5 cm sahanpurua, turvetta tms. |
| lehtopöllö | 26 | 60 | 13 | 13 | Pohjalle laitetaan vähintään 5 cm sahanpurua, turvetta tms. |
| viirupöllö | 30–35 | 60–70 | 18 | 15 | Pohjalle laitetaan vähintään 5 cm sahanpurua, turvetta tms. |
| uuttukyyhky | 18–20 | 50 | 8,5 | 10 | Pohjalle laitetaan vähintään 5 cm sahanpurua, turvetta tms. |
| naakka | 18–20 | 50 | 8,5 | 10 | |
| telkkä | 22–24 | 55 | 11,5 | 14 | Pohjalle laitetaan vähintään 5 cm sahanpurua, turvetta tms. |
| uivelo | 22–24 | 55 | 7,5 | 14 | Pohjalle laitetaan vähintään 5 cm sahanpurua, turvetta tms. |
| isokoskelo | 26 | 70 | 13 | 22 | Pohjalle laitetaan vähintään 5 cm sahanpurua, turvetta tms. |
Peruspönttö vaaka-asennossa
![]() |
![]() |
Kuin tavallinen pönttö, mutta kyljellään. Yhdestä seinästä tehdään katto ja reikä sijoitetaan toiseen yläkulmaan. Pöntön voi ripustaa esimerkiksi talon seinälle.
Mitat (senttimetrejä):
- A = pöntön korkeus ja leveys sisäpuolelta
- B = pitkän sivun pituus
- C = lentoaukon halkaisija
- D = lentoaukon keskipisteen etäisyys seinän sivureunasta
| Laji | A | B | C | D | Muuta huomioitavaa |
| pikkuvarpunen | 10–12 | 30 | 3,2 | 8 | Voi kelpuuttaa pystypöntönkin. |
| varpunen | 12–15 | 35 | 3,2–5 | 8 | Voi kelpuuttaa pystypöntönkin. |
Avopönttö
![]() |
![]() |
Kuutiomainen pönttö, jossa ainakin etuseinä on puoliksi avoin. Pönttö on vielä mieluisampi useimmille lajeille, jos myös sivuseinistä sahaa palat pois.
Mitat (senttimetrejä):
- A = pöntön leveys sisäpuolelta
- B = seinälaudan takakorkeus
- C = seinälaudan etukorkeus
| Laji | A | B | C | Muuta huomioitavaa |
| harmaasieppo, västäräkki | 13–15 | 18 | 9 | |
| koskikara | 20 | 22 | 11 | |
| tuulihaukka, hiiripöllö | 26–30 | 40 | 20 | Pohjalle laitetaan vähintään 5 cm sahanpurua, turvetta tms. |
Puukiipijän pönttö
![]() |
![]() |
![]() |
Puukiipijän kolmiomaisen pöntön takaseinänä on puun runko. Lentoaukko tehdään molemmille sivuille. Pönttö voi olla myös nelikulmainen.
Mitat (senttimetrejä):
- A = seinälaudan leveys
- B = seinälaudan korkeus
- C = lentoaukon leveys ja korkeus
- D = lentoaukon keskipisteen etäisyys seinän yläreunasta
| Laji | A | B | C | D |
| puukiipijä | 12 | 35 | 3–6 | 8 |
Tukkakoskelon pesälaatikko
![]() |
Tukkakoskelon pohjaton pesälaatikko laitetaan maahan. Pönttöön ei tehdä pohjaa. Kulkuaukko kannattaa tehdä lähelle nurkkaa.
Mitat (senttimetrejä):
- A = pöntön leveys
- B = seinän korkeus
- C = aukon leveys ja korkeus
| Laji | A | B | C |
| tukkakoskelo | 30–40 | 25 | 15 |
Luonnonpönttö
Luonnonpönttö eli pöllipönttö koverretaan joko ydinlahosta puusta tai terveestä pöllistä sorvia, isoa kairaa tai moottorisahaa käyttäen. Monilla metsästysseuroilla on sorvi, jota voi saada vuokrata.
Pöntöiksi valmistettavat puupölkyt kannattaa ehdottomasti kuoria. Tuohi- ja kaarnapintaiset pöntöt ovat kyllä kauniita, mutta niiden ikä jää lyhyeksi. Kuori pidättää kosteuden sisällään, ja pönttö lahoaa 5–7 vuodessa. Laho etenee salakavalasti tuohen alla. Pahimmassa tapauksessa pohjan kiinnitys pettää kesken pesinnän ja poikaset putoavat maahan. Kuorellisia pönttöjä kannattaa siis ripustaa korkeintaan aivan näkösälle pihapiiriin, jossa ne on helppo vaihtaa uusiin. Kuorittuna pöllipönttö voi sen sijaan kestää jopa kymmeniä vuosia. Myös valmiina ostetut kuorelliset pöntöt kannattaa kuoria ennen ripustamista.
Muita pönttöjä
Monia lintu- ja muita eläinlajeja, joita tässä ei ole mainittu, saattaa saada pesimään pönttöön. Esimerkiksi kotkalainen Urpo Koponen on kehittänyt lähes 70 erilaista pönttömallia, joissa on pesinyt noin 50 lintulajia. Tässä joitakin vinkkejä:
- Räystäpääskyjen tekopesiin löytyy ohjeita täältä. Räystäspääskyn pesänrakennusta voi auttaa myös kiinnittämällä ylös seinään höyläämättömän laudan, jonka päälle pääsky voi rakentaa pesänsä. Lisäksi pihapiiriin avoimelle paikalle voi tuoda pesänrakennusaineeksi savea, joka pidetään kosteana.
- Haahkan pesimälaatikon ohjeet löytyvät täältä.
- Arlan ohje puisen pääskyrivitalon rakentamiseen.
- Lepakot voivat asettua keskikokoiseen pönttöön, jossa sisäänmenoaukko on litteä, parin sentin rako pohjan takareunassa. Ripustuskorkeus on 4–6 metriä. Oksia ei saa olla peittämässä lentoaukkoa.
- Siilille voi tehdä talvehtimista varten pesälaatikon tukkakoskelon laatikon mallin mukaisesti. Laatikosta tehdään vähän tukkakoskelon laatikkoa isompi, noin 45 cm pitkä ja leveä, ja siihen lisätään parin laudan yläkulmaan pienet ilmanvaihtoaukot.
- Hyödyllisille hyönteisille voi rakentaa erilaisia ”hyönteishotelleja”, joiden malleja löytyy runsaasti internetistä. Usein niissä on pieniä puuhun porattuja reikiä sekä kehikkoon kiinnitettyjä putkikasvien pätkiä tai käpyjä pesäkoloiksi.
Piirrokset: Petri Kuhno











